作者:内分泌科王朝旭
桥本氏甲状腺炎(Hashimoto thyroiditis,HT)又称慢性淋巴细胞性甲状腺炎,是日本学者Hashimoto在1912年首次报道的,属于自身免疫性甲状腺炎的一个类型。患者男女比例是7:1,也见于儿童。
一、HT临床表现。起病隐匿、进展缓慢,早期临床表现常不典型。甲状腺肿大称弥漫性、结节性肿大,常伴有咽部不适、轻度吞咽困难,有时有颈部压迫感,偶有局部疼痛。随着病情发展,也可出现畏寒、心动过缓、粘液性水肿等甲减表现。
HT与弥漫性毒性甲状腺肿可以并存,成为桥本甲状腺毒症,临床上表现为甲亢、甲减交替出现。HT患者可同时伴有其他自身免疫性疾病。
二、实验室检查。
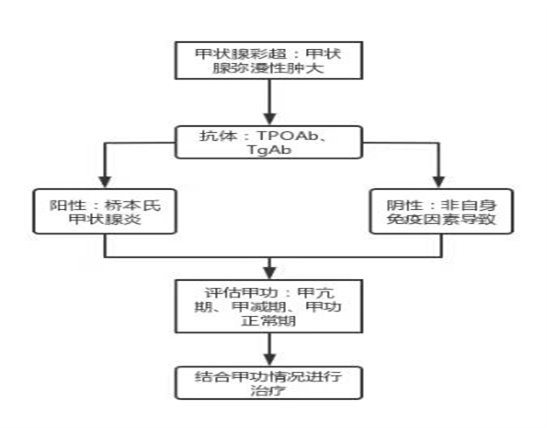
1.甲状腺相关抗体阳性是本病特征。文献报道本病TgAb阳性率80%,TPOAb阳性率97%。
2.甲状腺超声,显示甲状腺肿,回声不均,可伴多发性低回声区域或甲状腺结节。
三、诊断
凡是弥漫性甲状腺肿大,质地较韧,特别是伴峡部椎体叶肿大,不论甲状腺功能是否改变,均应怀疑HT。如果同时血清TPOAb、TgAb阳性,诊断成立。
四、治疗。
1.如果甲功正常,随访是HT处理的主要措施,一般每半年至1年随访一次,检查甲功、甲状腺彩超。
2.目前无针对病因的治疗方案,低碘饮食有一定益处。
3.发生甲减、亚甲减时,需要LT4治疗。
4.TPO-Ab阳性孕妇,对于妊娠前TPOAb阳性、甲功正常的孕妇,妊娠期间需定期复查甲功,一旦发生甲减或低T4血症,应给予LT4治疗。对于妊娠前TPO-Ab阳性,并发生甲减或亚临床甲减的患者,则需要补充LT4直至甲功正常后方可妊娠、以减少因对胎儿甲状腺激素供应不足、进而影响神经发育。
5.甲状腺肿大明显、压迫症状明显者,考虑手术治疗。
(PS附诊治流程图)
